• 북마크
  • 접속자 152
IT 노하우 뉴스 정보 공유 커뮤니티

IT 노하우 뉴스 정보 공유 커뮤니티

Mobile

[Apple] 아이폰 폴드블 폰에 대한 해외 뉴스 내용

Becain 레벨
2023.08.03 13:00 20,531 0 0 0

본문

아이폰 폴더블 폰에 대해서 해외 인터넷 뉴스에서 정리한 내용 입니다. 

어쨌든 애플은 폴더블 아이폰과 관련된 특허를 가지고 있다고 하네요. 결국에는 언젠가는 출시가 되지 않을까 싶지만 언제가 될지는 모른다는 뭐 그런 얘기 인거 같아요 ^^

 

이미지 1983.png

 

애플, 폴더블 아이폰 특허 보유

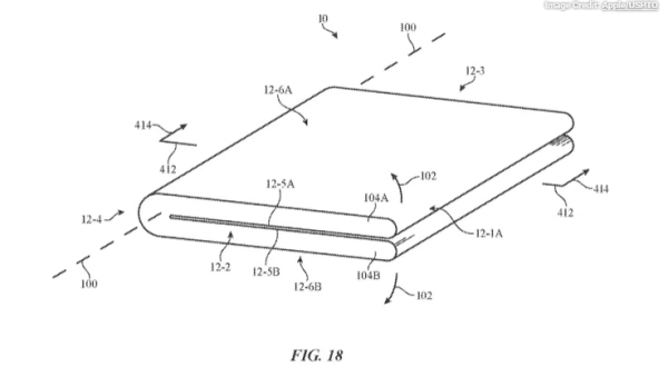
우리가 실제로 확실히 알고 있는 것부터 시작하겠습니다. 애플은 접이식 아이폰에 대한 여러 특허를 보유하고 있습니다. 특히, Apple은 "노출된 디스플레이 영역"이 있는 폴더블 iPhone에 대한 미국 특허청 특허를 보유하고 있습니다. 즉, 외부에 디스플레이가 있는 것입니다.


2016년 특허에는 플렉시블 OLED 디스플레이와 금속 힌지를 사용하여 수평으로 반으로 접히는 iPhone에 대한 내용이 자세히 나와 있습니다. 휴대폰이 닫혀 있어도 디스플레이의 양쪽 절반은 계속 사용할 수 있습니다. 또 다른 Apple 특허는 공동으로 사용할 수 있는 두 개의 자석으로 연결된 디스플레이에 대해 설명합니다.


이는 Apple이 갤럭시 Z 플립과 같은 클램셸 스타일의 플립폰과 갤럭시 폴드와 같은 더 큰 장치를 모두 개발 중임을 시사합니다.


또한, 또 다른 Apple 특허는 금이 가지 않는 폴더블 iPhone의 보호 스크린 레이어에 대한 작업을 보여줍니다. 특허에 따르면, 아이폰은 기존의 미세한 균열을 메워 더 큰 균열이 생기기 어렵게 만드는 단단한 층을 특징으로 할 것입니다.


이 외에도 애플 폴더블 폰에 대한 특허는 많이 있습니다. 기기 전체를 감싸는 디스플레이를 보여주는 특허도 있습니다. 터치 ID가 폴더블 iPhone으로 돌아갈 수 있는 방법을 탐구하는 특허도 있습니다. Apple이 적극적으로 연구하고 있다는 것은 분명합니다.


이러한 특허에 대한 한 가지 긍정적인 신호는 여러 애플 분석가들이 프로토타입 기기를 테스트하고 있다는 소식통을 통해 들었다는 것입니다. 존 프로서는 프론트 페이지 테크 에피소드에서 프로토타입 쉘이 테스트 중이라고 설명했습니다. 밍치 궈는 예상 화면 크기를 자세히 설명했고, 로스 영은 테스트 중인 기기에 대해 이야기했으며, 마크 거먼도 마찬가지였습니다.


많은 스마트폰 제조업체, 특히 Apple가 실현되지 않는 특허를 많이 출원한다는 점에 주목할 필요가 있습니다. 특허는 회사가 제품을 개발 중이라는 것을 확인할 뿐 실제로 출시된다는 것을 의미하지는 않습니다.


폴더블 아이폰에는 어떤 기능이 있을까요?

디스플레이부터 시작하겠습니다. 애플의 특허를 보면 폴더블 아이폰에는 OLED 디스플레이가 탑재될 것으로 보입니다. 이는 애플에게 이례적인 일은 아니지만 확인되어 반갑습니다.


애플은 프로모션 디스플레이 기술과 함께 아이폰 13 시리즈에 120Hz 디스플레이를 도입했습니다. 따라서 폴더블 디스플레이에도 이 기술을 적용하는 것이 합리적일 것입니다. 삼성의 갤럭시 폴드와 플립 디바이스 모두 120Hz 디스플레이를 자랑하므로 충분히 가능한 일입니다. 플립 모델의 외부 화면에 대한 밍치 쿠오의 전자 잉크 디스플레이에 대한 루머가 있지만 가능성은 낮아 보입니다.


카메라의 경우에도 비슷한 업그레이드가 이루어질 가능성이 높습니다. 유출된 정보가 아이폰 카메라에 대한 변경 사항을 구체적으로 언급하는 경우는 많지 않기 때문에 이번 유출은 추측에 가깝습니다. 프리미엄 폴더블 iPhone에는 현재의 프로 iPhone과 마찬가지로 3개의 카메라와 LiDAR 센서가 탑재될 가능성이 높습니다.


더 나아가 폴더블 iPhone에 Touch ID가 다시 도입될 수도 있습니다. 터치 ID가 iPhone에 다시 돌아올 수 있다는 이야기는 수년 동안 들었지만 아직 출시되지는 않았습니다. 아마도 접이식 디스플레이가 노치에 Face ID 센서를 금지하는 폴더블 iPhone이 Touch ID를 다시 도입하는 데 더 적합한 장치일 것입니다. 어떤 방식이 더 안전한지에 대한 논쟁은 여전히 진행 중이므로 두 가지를 모두 포함하면 두 가지 장점을 모두 누릴 수 있습니다.


다른 기능에 관해서는 아직까지 알려진 바가 없습니다. 폴더블 iPhone이 접을 수 있다는 사실은 그 자체로 꽤 큰 기능입니다. 다른 많은 기능들은 그 해의 iOS 소프트웨어 업데이트와 함께 제공될 가능성이 높습니다.

0 0
로그인 후 추천 또는 비추천하실 수 있습니다.

댓글목록 0

등록된 댓글이 없습니다.